[Prev] [Next] [Contents] [Commodore] [New] [Search] [Home]

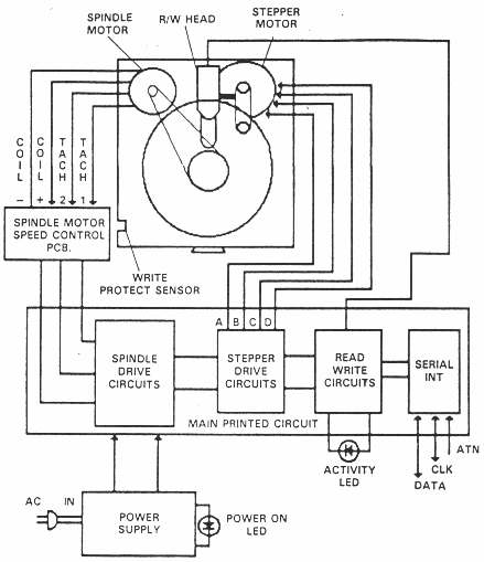
[C1541 Block Diagram]

[Prev] [Next] [Contents] [Commodore] [New] [Search] [Home]
This page has been created by Sami Rautiainen.
Read the small print. Last updated April 18, 1998.